SERVICE #01
Design Patent Drawings
There is lot to preparing and prosecuting a Design Patent Application then merely preparing and filing accurate drawings. Together, the drawings and text provide a Design Patent Application that are more likely to be allowed and easier to enforce. The words used in the text result in stronger patent protection that is either broader or narrower and more enforceable against possible litigation's.
Views In Design Patent
According to USPTO “the drawing disclosure is the most important element of the application”. Furthermore, there are 7 standard views including Perspective, Front , Back, Top, Bottom, Left and Right view required for best practices. It may be including more/less than 7 figures as per requirement accordingly.
#Perspective
#Top
#Bottom
#Front
#Back
#Left
#Right
Perspective View
3D View
Isometric view from front/right side, shows three dimensional appearance of the article. It enables users to connect with the design and understand better.
Therefore, every view defines the design of the article in such a way that enables the user to understand the physical aspects.
SERVICE #02
Utility Patent Drawings
According to USPTO “the drawing disclosure is the most important element of the application”. Furthermore, A utility patent is a type of patent designed to protect the structural or functional aspects of an invention. A utility drawing helps define a complex invention and, as such, plays a key role in the patent application process.
Utility Patent Drawings Is All About It's Features
Pricing Schedule
$30
Per Figure
DESSIGN
Patent Drawings
Free Unlimited Revisions
Multiple Output File Options
Work With 3D FIles
Fast Turnaround
Easy Payment Terms
NDA Available
$25
Per Figure
UTILITY
Patent Drawings
Free Unlimited Revisions
Multiple Output File Options
Work With 3D FIles
Fast Turnaround
Easy Payment Terms
NDA Available
$25
Per Figure
FLOW Chart
Patent Drawings
Free Unlimited Revisions
Multiple Output File Options
Work With 3D FIles
Fast Turnaround
Easy Payment Terms
NDA Available
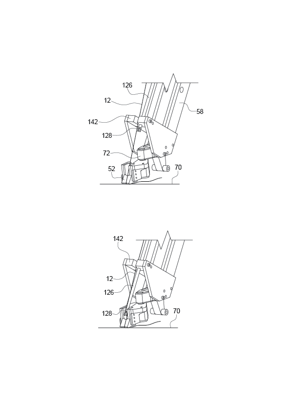
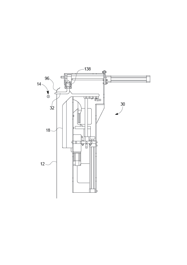
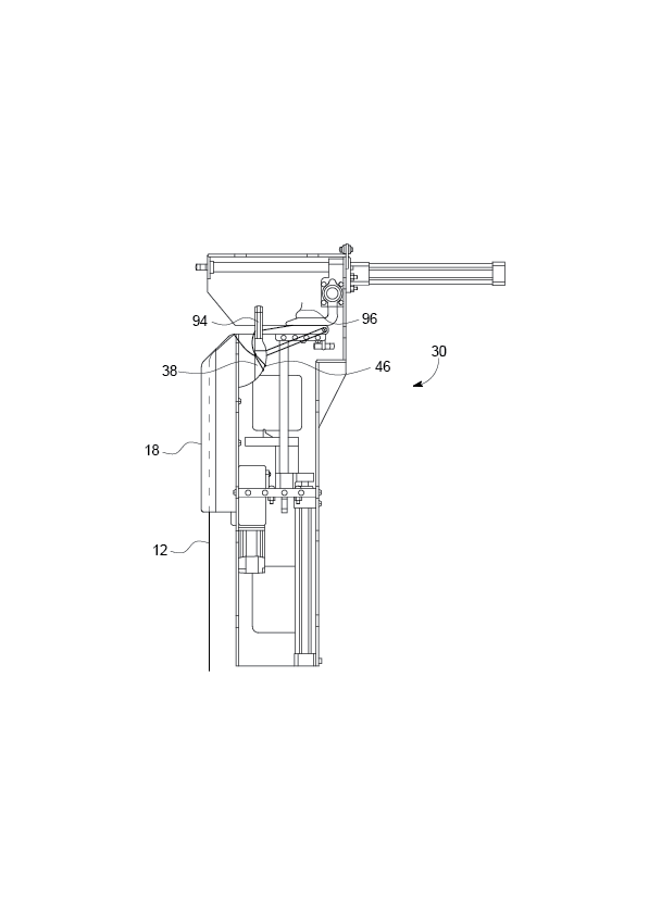
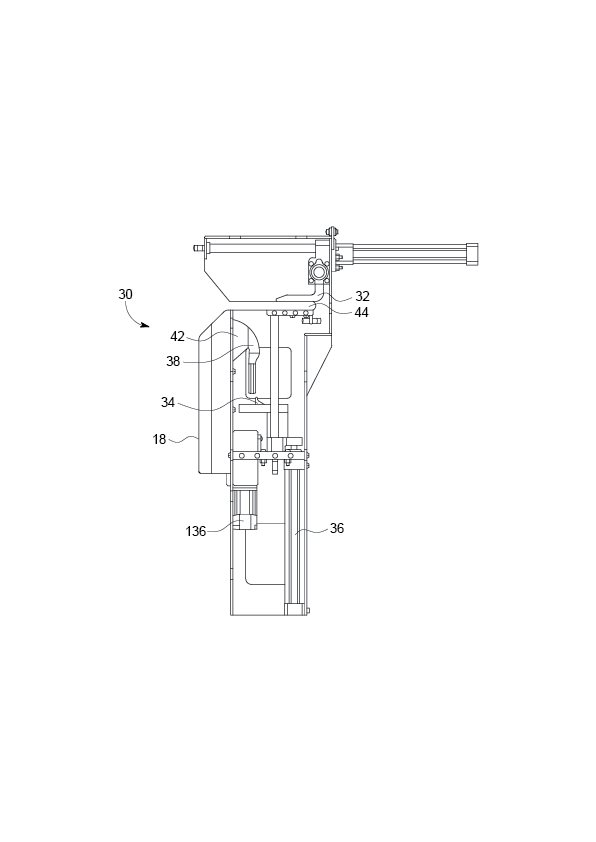
Sample Drawings
Feel Free to Zoom In
Contact Us:

1540 Glenway Drive, Tallahassee, FL 32301, United States

info@thesolidlines.com

+1 352-525-1656